Книга в формате djvu! Изображения и текст могут не отображаться!
[Настройки текста] [Cбросить фильтры]
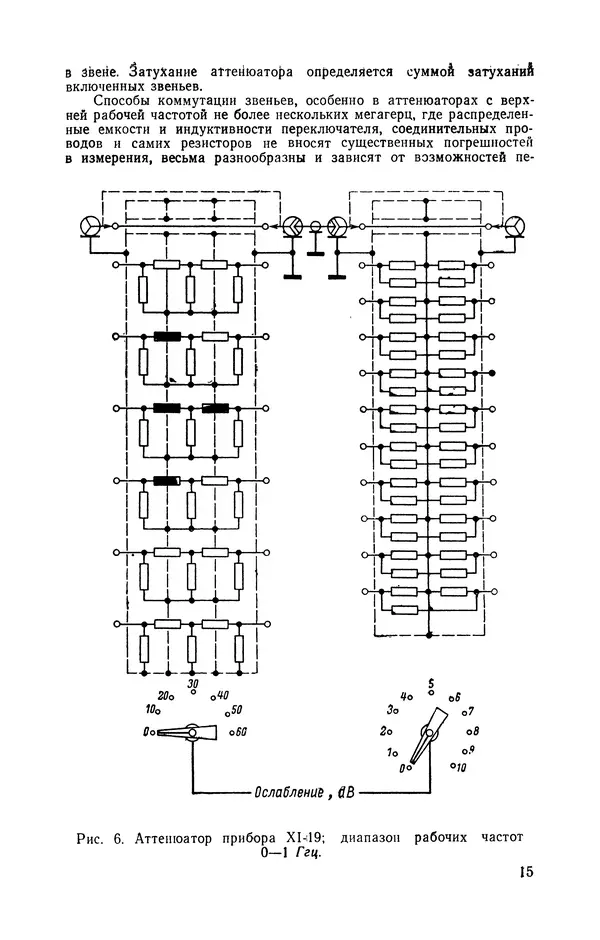
- 1
- 2
Николай Панин - Переменные аттенюаторы и их применение

























- 1
- 2
эта часть получше, но смотрю 16 год, а где продолжение?
Рейтинг: 0 ( 0 за, 0 против)Отлично написано, рекомендую.
З.Ы. Аффтор давай третью часть!!
сумбурно как то
Рейтинг: 0 ( 0 за, 0 против)Начало книги сразу дает понять, что книга из серии "Тупой, ещё тупей". Написана от первого лица дебильного ГГ. Слог полностью соответствует данному характеру. ГГ руководит страх, требующий бежать в пустоту и в любую сторону, забывая о элементарных вещах. Только спазмы желудка побуждают вернуться, поискать еду и игнорируя оружие. И это человек, работавший охранником, то есть готовый к неприятностям и их решению. Нормальный человек,
подробнее ...
попав в непонятную опасную боевую ситуацию сперва ищет оружие и укрытие, потом проводит разведку и анализирует данные для дальнейших действий. Если есть башня с пулемётами на стене, то нормальные люди ищут туда лестницу, а не лезут по стене на виду у возможных врагов как альпинист, становясь беззащитным на это время. Он лестницу находит, только забравшись на верх по стене и объясняет свой дебелизм просто - не заметил. Коль добрался до огневой точки с пулемётами, то самое время подумать. Но автор нам рассказывает о желании ГГ только бежать и показывает сцену, когда ГГ раздевает трупы и из их одежды связывает верёвку для спуска со стены. Выглядит очень дебильно и маньячно да ещё для труса. Пока раздевал и связывал верёвку из одежды трупов, мог бы прийти в себя. Все нормальные писатели, описывая острые сюжеты при отсутствии верёвок использовали постельное бельё и шторы, так как одежда для этого не годится. Кусочки ткани сшиты нитками? А нитки не тот предмет, как и края ткани, который может выдержать вес тела. Любой взрослый человек легко отрывает рукава и штанину по швейным швам. Попробуйте связать куртку со штанами и вам всё станет понятно. Особливо если они вымазаны в крови и испражнениях трупов. Автор несёт не реальную чушь на каждом шагу. Ну вот вы пойдете в пустые места в любую сторону до горизонта от базы с продуктами, оружием и техникой? Если есть транспорт, то можно найти двигающуюся и значит есть дорога от базы, ведущая к людям.Спрашивается зачем топать пешком за горизонт без дорог с флягой воды и минимумом еды? Видимо автор хочет сделать на глупости героя из ГГ, преодолевающего смерть только случайно и благодаря роялям автора. Тогда спрашивается у автора, зачем придумал базу, полную добра и ништяков и делая из ГГ дебила для всех читателей? В чем прикол? Нормальные выживальщики от добра с голой жопой не бегают и станковый пулемёт не бросят, раз кругом дичь крупнее танка, поищут хотя бы ручной гранатомёт со складом гранат. Да и базы, охраняемые танками и БМП, обычно окружают минным полем и покидать её нужно не кабы как на авось. Все ответы для ГГ хранятся на базе, а он от неё бежит, видимо что бы с кровью их добывать потом из слухов посторонних? Наших современников трудно вообще чем либо удивить, так как насмотрелись,начитались и наигрались ужастиками? При виде трупов на улице и умирающих при ДТП никто не блюёт и ведёт себя большинство инфантильно. Эти затёртые штампы ботов беспомощности ГГ в острых обстоятельствах, давно всех раздражают. В средние века, от которых мы не далеко ушли, общество развлекалось кровавыми наказаниями,пытками, казнями и гниющими трупами повешенных и посаженными на кол.В обморок часто падали только дамы от нехватки кислорода и тугого корсета. Современное оружие превращает трупы в фарш. У наших граждан нервы крепкие. Читаю дальше. ГГ так и не взял в руки огнестрельное оружие. бежал с базы и там где нет не одного деревца, нашёл избушку, причём в лесу. Оригинально. В задрипанной избушке автор вписал камин, где ГГ устроился спать, не подперев дверь и не блокировав разбитое окно. К утру его посетил человек, от которого ГГ спрятался в кладовку, дрожа от страха и заикаясь. Читать противно, с меня хватит. Стиль описания остался дебильным.
Оценил в 4 балла. ГГ - попаданец в тело барона, которого лишают титула и отправляют в дикие земли добывать магические горошины. Ну в общем наш ГГ парень не простой - он попаданец-рецедивист. При вселении в новое тело хоть и потерял память, но через редкие сны вспоминает свои прежние воплощения в других мирах. Прежний опыт, сопутсвующая удача и восстаналивающийся источник магии позволяет ГГ неплохо вписаться в новый мир.
Плюсы.
1. Сюжет на
подробнее ...
четверку с минусом потянет. По сути ГГ бегает по Диким землям, обустраивает быт, делает копья, охотится на монстров и отбивается от двуногих братьев по несчастью. Налаживает соц. связи так как в одиночку выжить почти нереально. Но есть и свои минусы, но об этом позже.
2. Боевка более менее адекватная. - При столкновении с сильными врагами он делает ловушки, использует неожиданные нападения.
3. Не гарем и не философ.
4. Мамкины советы выживальщика - типо замариновать мясо на муравейнике, замазать смолой рану и т.д. Весьма спорные советы, ну ок - будем считать их лайфхаками, а потому карму в плюс.
Минусы
1. Откровенная глупость и даже дичь, непонятные мутные правила у дворян. Вроде ГГ это барон, его лишают статуса барона, но при этом у него есть возможность отдать долг и вернуть родовые земли (при этом там откровенная дичь про лишения статуса барона, но сохранения его титула).
2. ГГ постоянно пьет кровь у поверженных монстров и жрет их печень пачками. Сами монстры появляются из магических камней.
3. Некое слабоумие и лень у людей. Там куча приграничных деревень, в которых люди должны знать, что можно делать с магическим горохом и пользоваться этим повсеместно. А тут ГГ прямо открывает Америку - со своими экспериментами по посадке гороха на своеобразных грядках. Ну по поводу лени - после гона изза града там всей деревней бы отправились на фарм. Потому как 1 горошина это рубль, а после града остается и собирать горошины без особого риска как грибы.
4. Глупость всяких родовитых аристократов, которые приехали в дикие земли без своей дружины. При этом они нанимают местных охотников и идут с ними бить звервье, ночуют на деревьях, ведут себя предельно вежливо по отношению к ГГ (каторжнику), а иногда и шмотки постирывают.
5. Сюжет под конец книги делает неожиданные повороты. Появляются бабы яги, кощеи, дочки в хрустальных гробах. В общем намешал всего и получил дичь, которую тяжело читать
В целом первая книга не зашла - сюжет скатывается к каким то сказкам, глупость, тупость и лень окружающих, нет здоровой конкуренции, рояли.
Книга в формате djvu! Изображения и текст могут не отображаться!

























Последние комментарии
3 дней 17 часов назад
4 дней 5 часов назад
4 дней 6 часов назад
4 дней 17 часов назад
5 дней 11 часов назад
6 дней 50 минут назад