В помощь радиолюбителю. Выпуск 8 [Вильямс Адольфович Никитин] (fb2) читать онлайн


 [Настройки текста]  [Cбросить фильтры]
  [Оглавление]

Составитель: Никитин Вильямс Адольфович «В помощь радиолюбителю» Выпуск 8 (Электроника своими руками)


Глава 1 ОХРАННЫЕ СИСТЕМЫ

1.1. Простейшие охранные устройства

Гончар А. [1]


Одно из самых простых охранных устройств представлено на рис. 1.



Рис. 1. Принципиальная схема простейшего охранного устройства


Пара комплементарных транзисторов соединена по схеме генератора. Между точками 1 и 2 включается шлейф — длинная тонкая проволока, например провод ПЭЛ или другой обмоточный провод диаметром 0,05-0,08 мм. Шлейфом можно обмотать охраняемые объекты, калитки или двери. Главное, чтобы под влиянием естественных воздействий провод шлейфа не был оборван.

Пока шлейф цел, генератор не работает, но при обрыве появляется обратная связь с коллектора VT1 на базу VT2 и динамическая головка ВА1 воспроизводит сигнал тревоги.

На рис. 2 предлагается другая схема простого охранного устройства, которое не содержит ни транзисторов, ни диодов.



Рис. 2. Принципиальная схема охранного устройства


Сетевым трансформатором напряжение сети понижается примерно до 20 В и подключается к одной диагонали резисторного моста R1-R4. В другую диагональ включен обычный звонок от телефонного аппарата. Один из резисторов моста — R4 — размещается в охраняемом помещении, на внутренней стороне двери которого установлен микровыключатель. Пока мост сбалансирован, звонок обесточен, но при обрыве линии или открывании двери баланс нарушается и включается сигнал тревоги.

Достоинство второй схемы состоит также в том, что тревога поднимается не только при обрыве линии или размыкании микровыключателя, но также и при попытке замкнуть линию накоротко.

1.2. Входное устройство охранной сигнализации

Куренков Л. [2]


Устройство применяется для охраны помещения, расположенного недалеко от жилища. Его принципиальная схема показана на рис. 3.



Рис. 3. Принципиальная схема входного устройства


Резистор Rш размещается внутри охраняемого помещения и соединен с гнездами а, b входного устройства двухпроводной линией. В исходном состоянии оба транзистора заперты. При обрыве линии через резистор R1 и стабилитрон VD2 на базу транзистора VT2 поступает отпирающее напряжение от источника питания. Это приводит к отпиранию транзистора VT1, и такое состояние схемы устойчиво. Контакт d через открытый транзистор VT2 заземляется и включается тревога.

При коротком замыкании линии ток, протекающий от источника питания через резисторы R4, R3 и стабилитрон VD1, создает падение напряжения на резисторе R3, которое отпирает транзистор VT1. Вновь отпирается транзистор VT2, чем включается тревога. И это состояние схемы устойчиво.

Сигнал тревоги снимается при восстановлении штатного значения сопротивления между гнездами а, b. После этого для включения режима охраны кратковременно замыкается ключ S1.

Размещение элементов схемы входного устройства на печатной плате показано на рис. 4.



Рис. 4. Печатная плата входного устройства

1.3. Электрошоковое средство защиты

Воробьев А. [3]


Электрошокеры в настоящее время выпускаются промышленностью и бывают в широкой продаже. Самодельный электрошокер можно изготовить самостоятельно по принципиальной схеме, приведенной на рис. 5.



Рис. 5. Принципиальная схема электрошокового средства защиты


Схема электрошокера представляет собой преобразователь постоянного напряжения, который состоит из генератора переменного напряжения и последующего выпрямителя этого напряжения. Генератор собран на транзисторах VT1, VT2 и трансформаторе Т1. Обмотка I трансформатора является коллекторной, обмотка II — базовой. Подключение концов базовой обмотки к базам транзисторов осуществляется таким образом, чтобы соблюдались условия генерации: при отсутствии генерации нужно поменять местами концы этой обмотки. Резистор R1 и конденсатор С1 предназначены для задания рабочего режима транзисторов. Обмотка III — выходная, к ней подключен умножитель напряжения, выполненный на выпрямительных столбах VD1-VD4 и конденсаторах С2-С5.

Обмотка I трансформатора содержит 2 секции по 14 витков каждая проводом ПЭВ-2 диаметром 0,6 мм, обмотка II — 2 секции по 6 витков каждая проводом ПЭВ-2 диаметром 0,6 мм, обмотка III — 6000 витков проводом ПЭВ-2 диаметром 0,2 мм. Между обмотками I и II прокладывается изоляция — один слой ленты из фторопласта, между обмотками II и III — три слоя, а при рядовой намотке обмотки III между рядами прокладывается один слой этой ленты. Внутрь каркаса вставляется ферритовый стержень диаметром 8 мм. Питание электрошокера осуществляется от батареи, состоящей из 10 аккумуляторов типа Д-0,55.

Размещение деталей устройства в пластмассовом корпусе размерами 40x50x190 мм показано на рис. 6.



Рис. 6. Размещение элементов схемы в корпусе электрошокера

1.4. Сторожевое устройство

Александров И. [4]


Рассматриваемое устройство рассчитано на использование для сигнализации о несанкционированном доступе в охраняемое помещение. Принципиальная схема сторожевого устройства приведена на рис. 7.



Рис. 7. Принципиальная схема сторожевого устройства


Перед выходом из охраняемого помещения тумблером SA1 включают питание устройства, и начинается заряд конденсатора С2 через резистор R2. На входах элемента DD1.1 и выходе элемента DD1.4 образуется уровень лог. 1. Состояние дверного контакта SF1 пока на режим не влияет. Триггер, образованный элементами DD1.2 и DD1.3, устанавливается в состояние, при котором на выходе DD1.3 образуется уровень лог. 0. При этом на выходе параллельно соединенных элементов DD2.2-DD2.4 — также уровень лог. 0, светодиод оптрона U1 не горит и его динистор заперт. Сигнал к исполнительному устройству не поступает.

Пока заряжается конденсатор С2 (30–40 с), нужно выйти из помещения, закрыв дверь (разомкнутся и снова замкнутся контакты SF1). Конденсатор С2 заряжается до напряжения питания, и на выходе элемента DD1.1 образуется уровень лог. 1. Теперь схема чувствительна к состоянию контактов SF1, и устройство переходит в дежурный режим.

При открывании двери размыкаются контакты SF1, переводя триггер в состояние, при котором на выходе DD1.3 образуется уровень лог. 1. Начинается заряд конденсатора С1 через резистор R3. Состояние элементов DD2.1-DD2.4 не изменяется и не зависит от состояния дверных контактов.

Можно войти в помещение и выключить питание устройства. Если же этого не сделать, после заряда С1 на выходах DD2.2-DD2.4 образуется уровень лог. 1, загорается светодиод оптрона и открывается динистор, включая исполнительное устройство.

Тумблер включения питания должен размещаться в секретном месте. Последовательно с контактами SF1 можно включить дополнительные, установив их на раме окна или на второй двери.

Во избежание ложных срабатываний системы от наводок рекомендуется установить дополнительный конденсатор емкостью 0,1 мкФ между выводом 11 DD1.2 и общим проводом.

1.5. Сирена персональной охраны

Шустов М. [5]


Эта портативная сирена предназначена для охраны людей или объектов путем мощного звукового сигнала для отпугивания и привлечения внимания охраны или свидетелей.

Принципиальная схема сирены представлена на рис. 8.



Рис. 8. Принципиальная схема сирены персональной охраны


Схема собрана на шести инверторах микросхемы DD1, трех транзисторах и содержит два RC-генератора: на элементах R2, С2 собран генератор инфранизкой частоты, предназначенный для модуляции с помощью транзистора VT1 второго генератора тональной частоты, собранного на элементах R1, С1. Два оставшихся инвертора, соединенные параллельно, и составной транзистор VT2, VT3 используются в качестве усилителя звуковой частоты. В качестве нагрузки применяется динамическая головка прямого излучения с сопротивлением звуковой катушки 4 Ом и мощностью не менее 0,5 Вт.

Питание сирены производится от двух гальванических элементов, соединенных последовательно, напряжением 3 В.

1.6. Охранное устройство с индикацией состояния шлейфа

Никольский Л. [6]


Предлагаемое устройство способно распознавать отклонение параметров охранного шлейфа от номинальных и сигнализировать о характере отклонения. Для предотвращения попыток злоумышленника накоротко замкнуть шлейф, чтобы парализовать действие охранной системы, конец шлейфа, находящийся в охраняемом помещении, нагружают резистором определенного сопротивления или диодом в определенной полярности.

Принципиальная схема устройства с индикацией состояния шлейфа приводится на рис. 9.



Рис. 9. Схема охранного устройства с индикацией состояния шлейфа


Охранный шлейф содержит контактные датчики SF1-SF4 и резистор R1. Логический узел собран на светодиодах HL1-HL3 и электронном ключе, который и включает сигнал тревоги.

Логический узел представляет собой измерительной мост АБВГ, к одной диагонали которого (АВ) подключено напряжение питания 5 В, а в другую (БГ) включены светодиоды: HL2 — красного цвета и HL3 — желтого. Охранный шлейф с токоограничительным резистором R2 подключен к плечу моста АБ, которое образовано светодиодом HL1 зеленого цвета с резистором R3. В качестве электронного ключа используется триггер Шмитта, собранный на транзисторах VT1 и VT2. Переменный резистор R7 служит регулятором уровня срабатывания триггера Шмитта.

После подачи питания к устройству с исправным шлейфом мост сбалансирован. Поэтому светодиоды HL2 и HL3 не горят, а зажигается светодиод HLJ. Потенциал точки Б примерно равен половине напряжения питания. При этом транзистор VT1 открыт, a VT2 заперт, в результате чего звуковой сигнализатор отключен. Если же в шлейфе возникает замыкание, потенциал точки Б станет почти равен напряжению питания. Тогда светодиод HL1 светиться не будет, а загорится светодиод HL3, сигнализирующий о наличии КЗ в цепи шлейфа. Наконец, если любой из контактных датчиков SF1-SF4 окажется разомкнутым или будет оборван провод шлейфа, потенциал точки Б станет близким к точке В. Тогда зажгутся светодиоды HL1 и HL2. В обеих нештатных случаях срабатывает триггер Шмитта, отпирается транзистор VT2 и включается звуковая сигнализация.

В процессе налаживания при исправном шлейфе подбором сопротивления резистора R1 добиваются получения напряжения в точке Б равным 2,5 В. При разомкнутом шлейфе, когда потенциал точки Б примерно равен 1 В, переменным резистором R7 устанавливают порог срабатывания триггера Шмитта.

Глава 2 РАДИОМИКРОФОНЫ

2.1. Простой радиомикрофон

Осоцкий Ю. [7]


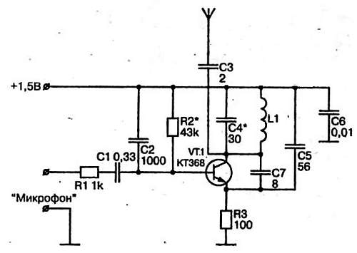
Схема этого радиомикрофона (рис. 10) содержит лишь один транзистор и питается напряжением 3 В от двух малогабаритных аккумуляторов, потребляя ток 1,5 мА. При этом дальность действия составляет 30–40 м.



Рис. 10. Принципиальная схема простого радиомикрофона


Передатчик радиомикрофона собран на транзисторе с колебательным контуром в цепи коллектора и работает на частоте 100 МГц. Положительная обратная связь осуществляется конденсатором С5. Режим транзистора по постоянному току определяется делителем напряжения из резисторов R2 и R3.

Электрический сигнал звука с электретного микрофона ВМ1 через разделительный конденсатор С1 поступает на базу транзистора, что приводит к соответствующим колебаниям емкости коллекторного перехода и частотной модуляции высокочастотного сигнала.

Катушки L1 и L2 наматываются на оправке диаметром 7 мм посеребренным проводом диаметром 0,5 мм. Катушка L1 содержит 6 витков, a L2 — 2 витка.

2.2. Низковольтный радиомикрофон

Цуканов Е. [8]


Этот радиомикрофон сохраняет работоспособность при питании напряжением 0,8 В, потребляя ток 0,5 мА, и обеспечивает дальность действия до 50 м. Принципиальная схема радиомикрофона представлена на рис. 11.



Рис. 11. Принципиальная схема низковольтного радиомикрофона


Сигнал с электретного микрофона типа МКЭ-3 через конденсатор С1 подается на базу генераторного транзистора, осуществляя частотную модуляцию. Генератор работает на частоте 94 МГц, устанавливаемой подбором емкости конденсатора С4 и перемещением витков катушки L1, которая наматывается на оправке диаметром 6 мм и содержит 8 витков рядовой намотки проводом ПЭЛ диаметром 0,35 мм.

2.3. УКВ-радиомикрофон

Шустов М. [9]


Этот радиомикрофон собран на двух транзисторах: VT1 выполняет функции усилителя звуковой частоты, a VT2 — генератора высокой частоты. Частотная модуляция осуществляется воздействием сигнала звуковой частоты на базу высокочастотного генератора. Принципиальная схема радиомикрофона показана на рис. 12.



Рис. 12. Принципиальная схема УКВ-радиомикрофона


Электретный микрофон ВМ1 оборудован встроенным предусилителем, обеспечивающим его высокую чувствительность. Транзистор VT1 включен по схеме с общим эмиттером. Его коллекторной нагрузкой является резистор R3, а режим по постоянному току задается сопротивлением резистора R1, которое нужно подобрать так, чтобы потенциал коллектора был примерно равен половине напряжения питания. Частота генератора определяется колебательным контуром L1, С5 и устанавливается в пределах от 66 до 74 МГц подбором емкости С5 и смещением витков контурной катушки. Она Наматывается на оправке диаметром 4 мм и содержит 6 витков провода ПЭВ-2 диаметром 0,56 мм. Намотка принудительная, с шагом 1,5 мм.

Размещение элементов схемы на печатной плате показано на рис. 13. При отсутствии транзистора П416 вместо него можно использовать КТ3107А.



Рис. 13. Размещение элементов схемы радиомикрофона

2.4. Радиомикрофон

Картузов А. [10]


Принципиальная схема этого радиомикрофона приведена на рис. 14.



Рис. 14. Принципиальная схема радиомикрофона


Сигнал звуковой частоты с электретного микрофона ВМ1 подается на базу транзистора VT1, который включен по схеме с общим эмиттером и коллекторной нагрузкой R3. Режим транзистора по постоянному току определяется сопротивлением резистора R2, которое подбирается так, чтобы напряжение на коллекторе было вдвое меньше питания. Усиленный сигнал звука через резистор R4 поступает на варикап VD1, входящий в состав колебательного контура L2, С4, VD1. Этот контур определяет значение несущей частоты радиомикрофона, равной 97 МГц. В генераторе высокой частоты используется полевой транзистор VT2, в цепи стока которого установлен второй контур L3, С5. Положительная обратная связь осуществляется за счет паразитной емкости сток-затвор транзистора. С помощью катушки связи L4 колебания высокой частоты поступают в антенну WA1.

Недостатком многих радиомикрофонов является влияние рук оператора на частоту излучаемого сигнала из-за сильной связи антенны с колебательным контуром, определяющим частоту. Здесь это влияние в значительной мере ослаблено. Питается радиомикрофон от одного гальванического элемента G1. Элементы С2, L1, С3 образуют развязывающий фильтр по цепи питания.

Дроссель L1 намотан на оправке диаметром 3 мм проводом ПЭВ диаметром 0,4 мм и содержит 25 витков, индуктивность 0,77 мкГн. Катушки L2 и L3 одинаковые, наматываются на оправке диаметром 5 мм и содержат по 10 витков провода ПЭВ диаметром 0,56 мм, индуктивность 0,45 мкГн. Катушка L4 намотана проводом ПЭВ диаметром 0,4 мм поверх L3 и содержит 2 витка.

2.5. Радиомикрофон с кварцевой стабилизацией

Абрамов А. [11]


Использование автором этого радиомикрофона совместно с приемником радиолы «Сириус-311» обеспечило уверенную связь на расстоянии около 50 м. Принципиальная схема радиомикрофона показана на рис. 15.



Рис. 15. Схема радиомикрофона с кварцевой стабилизацией частоты


Сигнал с динамического микрофона ВМ1 подается на вход двухкаскадного усилителя на транзисторах VT1, VT2 с общим эмиттером. Резисторы R2 и R4 — коллекторные нагрузки каскадов, резисторы R1 и R3 определяют режимы транзисторов по постоянному току. Их сопротивления подбираются так, чтобы потенциалы коллекторов находились в указанных на схеме пределах. Постоянная составляющая напряжения вместе с усиленным сигналом звуковой частоты с коллектора VT2 через дроссель L2 поступает на варикап VD1, который входит в состав колебательного контура ZQ1, VD1, С5. Кварцевый резонатор здесь выполняет функцию индуктивности. Генератор высокой частоты 70 МГЦ собран на транзисторе VT3 с положительной обратной связью через конденсатор С7, емкость которого подбирается с учетом максимального тока коллектора. Резисторы R5, R6 задают режим транзистора по постоянному току. После подбора С7, подбирая сопротивление резистора R5, устанавливают ток коллектора равным 25 мА. Дроссели L1 и L2 служат для развязки усилителя звукового сигнала и генератора высокой частоты по цепям питания.

Катушка L3 намотана на диэлектрическом каркасе диаметром 8 мм проводом ПЭЛ диаметром 0,8 мм и содержит 6 витков. Рядом, на расстоянии 1 мм, располагается катушка L4, содержащая 3 витка того же провода. Дроссели L1 и L2 — готовые типа Д-0,1 индуктивностью 15–30 мкГн. Вместо этого можно на резисторах ОМЛТ-0,5 сопротивлением не менее 100 кОм намотать в ряд на всю длину 30–50 витков провода ПЭЛ диаметром 0,1 мм. В качестве антенны можно использовать металлический штырь длиной 30–50 см.

Элементы схемы радиомикрофона за исключением микрофона, батареи питания, антенны и выключателя SA1 размещают на печатной плате, показанной на рис. 16. Вместо транзисторов МП39 можно использовать КТ208 с любым буквенным индексом.



Рис. 16. Размещение элементов радиомикрофона на печатной плате

2.6. Радиомикрофон с рамочной антенной

Рузматов В. [12]


При эксплуатации радиомикрофонов часто наблюдаются уходы частоты передатчика из-за изменений расстояния между штыревой антенной (или куском провода, выполняющего функции антенны) и телом оператора. Использование рамочной антенны значительно ослабляет уходы частоты.

Принципиальная схема этого радиомикрофона предлагается на рис. 17.



Рис. 17. Принципиальная схема радиомикрофона с рамочной антенной


Сигнал звуковой частоты с электретного микрофона ВМ1 поступает на двухкаскадный усилитель, собранный на транзисторах VT1, VT2 с отрицательной обратной связью по постоянному току через резистор R2. С коллекторной нагрузки второго каскада R7 сигнал подается на колебательный контур L3, С8, в цепи базы задающего генератора на транзисторе VT3, определяющий частоту передатчика радиомикрофона. Модуляция несущей звуковым сигналом происходит благодаря наличию нелинейных элементов схемы (диоды VD1, VD2). Промоделированный сигнал с коллектора VT3 поступает на усилитель мощности, собранный на транзисторе VT4, нагрузкой которого является рамочная антенна WA1.

Несущая частота задающего генератора подстраивается полупеременным конденсатором С8. Для подстройки сложной резонансной системы, состоящей из последовательного (С13, L5) и параллельного (С14, С15, L6) контуров, служит полупеременный конденсатор С14. Для подстройки выходных цепей служат конденсаторы С19 и С21.

Дроссели L1, L2, L6, L7 содержат по 50 витков провода ПЭЛ диаметром 0,1 мм, намотанных на спичках виток к витку. Катушки индуктивности бескаркасные и наматываются на оправках диаметром 10 мм проводом ПЭЛ диаметром 0,8 мм. Катушка L3 содержит 7 витков, L4 и L8 — по 4 витка, L5 и L9 — по 9 витков. Катушки L4 и L8 наматываются виток к витку, а L3, L5 и L9 — с принудительным шагом: расстояние между витками около 1 мм.

Рамочная антенна выполняется в виде треугольной спирали проводом диаметром 1 мм. Ее форма показана на рис. 18.



Рис. 18. Внешний вид рамочной антенны для радиомикрофона


Дальность действия этого радиомикрофона составляет примерно 150 м. Питания от батареи «Крона» хватает до 30 часов работы.

Глава 3 МИНИАТЮРНЫЕ РАДИОПРИЕМНИКИ

3.1. Детекторный радиоприемник

Зирюкин Ю. [13]


Детекторные приемники не нуждаются в источниках питания, и этот приемник также работает без батареи. Но для питания транзистора с помощью диода VD1 и конденсатора С5 выпрямляется высокочастотное напряжение принятого антенной сигнала. Принципиальная схема приемника показа- на на рис. 19.



Рис. 19. Принципиальная схема детекторного радиоприемника


Входной контур» образованный катушкой индуктивности L1 и одной секцией агрегата конденсаторов переменной емкости С1, обеспечивает прием радиопередач в диапазоне длинных волн. Особенность использованной схемы состоит в высокой добротности контура, что приводит к увеличению уровня сигнала и хорошей избирательности. Такая добротность получается благодаря малому шунтирующему действию детектора, выполненного на эмиттерном переходе транзистора VT1, который одновременно служит усилителем низкой частоты и нагружен на высокоомные головные телефоны ВА1.

Контурная катушка L1 наматывается проводом ПЭВ диаметром 0,15 мм на ферритовом стержне диаметром 8 мм и длиной 40 мм. Намотка. состоит из 5 секций внавал по 50 витков в каждой. Ширина секций — примерно 5 мм. Отводы выполняются от 40, 50, 60, 70 и 80 витков, считая от заземленного конца катушки.

Вместо транзистора П416Б можно использовать КТ3107К.

При налаживании нужно сначала с помощью конденсатора С2 поймать сигнал какой-либо радиостанции. Затем подбирают отвод катушки и сопротивление резистора R1, соответствующие наилучшей громкости. Если использовать эффективную антенну — провод длиной 20 м — и хорошее заземление, не исключен громкоговорящий прием при применении вместо наушников капсюля ДЭМ-4М. В сельской местности антенну во время грозы нужно обязательно заземлять.

3.2. Приемники из минимума деталей

Юсупов И. [14]


Схема самого простого радиоприемника приведена на рис. 20.



Рис. 20. Схема приемника на одном транзисторе


Она состоит из катушки индуктивности L1, транзистора VT1 и высокоомных головных телефонов BF1. Это обычный детекторный приемник с использованием для детектирования эмиттерного перехода транзистора. Настройка производится изменением индуктивности катушки за счет перемещения сердечника. Емкость контура образована собственной емкостью катушки, емкостью антенны и входной емкостью транзистора.

На рис. 21 показана схема радиоприемника на трех транзисторах, также отличающаяся минимальным числом деталей.



Рис. 21. Схема приемника на трех транзисторах


Транзистор VT1 служит детектором и эмиттерным повторителем продетектированного сигнала, а транзисторы VT2 и VT3 образуют составной транзистор (схему Дарлингтона) усилителя с выходной мощностью в несколько ватт в зависимости от напряжения питания. Использовать динамическую головку меньшей мощности, чем 4 Вт, нельзя из-за наличия постоянной составляющей коллекторного тока.

Катушка L1 для обоих приемников наматывается проводом ПЭЛШО диаметром 0,12 мм и содержит 200–250 витков на картонном каркасе, внутрь которого вводится ферритовый сердечник, плавным перемещением которого осуществляется настройка на радиостанцию. В конструкции катушки удобно использовать корпус от регулятора размера строк (РРС) старого телевизора или корпус от губной помады. Оба приемника нуждаются в антенне высотой не менее 10 м и хорошем заземлении.

В качестве транзисторов VT1 можно использовать КТ315, VT2 — КТ815, VT3 — КТ805 с изменением полярности напряжения питания на обратную, но оно должно быть не менее 3 В.

3.3. Миниатюрный приемник на двух транзисторах

Кокачев В. [15]


Этот приемник (рис. 22) рассчитан на работу в диапазоне средних волн.



Рис. 22. Схема миниатюрного приемника на двух транзисторах


Используется встроенная магнитная антенна, но можно подключить и наружную. При хорошей наружной антенне дальность приема резко увеличивается. Приемник собран по рефлексной схеме прямого усиления. Рефлексными называются схемы, где один каскад одновременно выполняет разные функции.

Входной контур образован индуктивностью L1 и конденсатором переменной емкости С1. С катушки связи L2 принятый сигнал подается на базу транзистора Т1, выполняющего функции усилителя высокой частоты. Его нагрузкой служит катушка L3. Далее высокочастотный сигнал с катушки связи L4 поступает на диодный детектор Д1. С нагрузки детектора R1 продетектированный сигнал низкой частоты через катушку L2 вновь подается на базу транзистора Т1, который теперь выполняет функцию предварительного усилителя низкой частоты. Для сигналов этих частот катушка L3 представляет простой проводник, а нагрузкой является резистор R2, с которого сигнал через конденсатор С5 поступает на базу транзистора оконечного каскада Т2, нагруженного телефонным, капсюлем ТМ-1. Питание подается с батареи БА из двух дисковых аккумуляторов Д-0,06, соединенных последовательно.

Катушки магнитной антенны намотаны на подвижных бумажных гильзах, надетых на ферритовый стержень прямоугольного сечения 36x38 мм. Катушка L1 содержит 200 виков провода ПЭВ диаметром 0,12 мм, L2 -10 витков провода ПЭЛШО диаметром 0,2 мм. Обе катушки намотаны виток к витку. Катушки L3 и L4 намотаны на кольце из феррита Ф-600 с наружным диаметром 8 мм. Катушка L3 содержит 150 витков, a L4 — 300 витков провода ПЭЛ диаметром 0,1 мм.

Вместо транзистора П401 можно использовать КТ3107Б, а вместо П14 — КТ361 с любым, буквенным индексом.

3.4. Простой УКВ ЧМ приемник

Алексеев Д. [16]


Этот радиоприемник собран по схеме прямого преобразования частоты для приема передач в диапазоне 65,8-73,0 МГц.

Принципиальная схема приемника приведена на рис. 23.



Рис. 23. Принципиальная схема УКВ ЧМ приемника


В качестве приемной антенны используется провод от головных телефонов, подключенный через конденсатор С1 к входному контуру L1, С2, настроенному на среднюю частоту диапазона (70 МГц). С контура через конденсатор С4 сигнал поступает на базу транзистора VT1, на котором собран преобразователь частоты с совмещенным гетеродином. Контур гетеродина образован катушкой индуктивности L2 и конденсаторами С5 и С7. Перестройка гетеродина конденсатором С7 производится в пределах от 32,9 до 36,5 МГц. Таким образом, разностная частота между частотой сигнала и второй гармоникой частоты гетеродина попадает в диапазон звуковых частот. Она выделяется на резисторе R3 И через разделительный конденсатор С5 подается на базу транзистора VT2, работающего в каскаде предварительного усиления звуковых частот.

Выходной каскад усиления звука построен на транзисторе VT3. Оба-каскада УЗЧ собраны по схеме с общим эмиттером.

Резисторы R4 и R6 служат для обеспечения режимов транзисторов по постоянному току. Выходной каскад нагружен на головные телефоны BF1.

Катушки для тока звуковой частоты включены встречно, что препятствует поступлению сигнала звуковой частоты на вход приемника.

Катушки L1 и L2 наматывают на оправке диаметром 5 мм проводом ПЭВ-2 диаметром 0,56 мм с принудительным шагом 2 мм. Катушка L1 содержит 6 витков с отводом от середины, a L2 — 20 витков. Катушки L3 и L4 наматывают на стержне из феррита М400НН диаметром 2 мм и длиной 10 мм. Намотку ведут в два провода ПЭЛ диаметром 0,06 мм.

3.5. Простой и удобный

Прокопцев Ю. [17]


Этот приемник, предназначенный для приема сигнала в диапазоне средних волн, собран на трех транзисторах КТ315 по рефлексной схеме. Принципиальная схема приемника приведена на рис. 24.



Рис. 24. Принципиальная схема простого приемника


Радиосигнал принимается магнитной антенной на резонансной частоте колебательного контура LI, С1 и с катушки связи L2 поступает на базу транзистора VT1, включенного по схеме с общим коллектором. С его эмиттера сигнал поступает на базу транзистора VT2, включенного по схеме с общим эмиттером. Нагрузкой этого каскада является индуктивное сопротивление телефонного капсюля BF1, включенного в цепь коллектора. С коллекторной нагрузки сигнал высокой частоты подается через конденсатор С3 на базу транзистора VT3, который служит амплитудным детектором благодаря работе в режиме, близком к отсечке. Продетектированный сигнал звуковой частоты с коллектора VT3 через элементы С4, R2 и катушку связи L2 вновь подается на базу транзистора VT1, который вместе с транзистором VT2 усиливает звуковой сигнал для воспроизведения капсюлем BF1. Конденсатор С5 и цепочка R2, С2 предназначены для подавления высокочастотной составляющей продетектированного напряжения.

Питание приемника производится напряжением 4,5 В от трех соединенных последовательно аккумуляторов Д-0,1 или Д-0,06. Контурная катушка L1 наматывается виток к витку на манжетке, надетой на ферритовый стержень диаметром 8 мм и длиной около 70 мм, и содержит 80 витков провода ПЭВ-2 диаметром 0,25 мм. Катушка связи наматывается тем же проводом и содержит 15 витков. В качестве конденсатора переменной емкости С1 можно использовать керамический КПК-2 емкостью 150 пФ. Если вместо капсюля ТМ-4 установить ДЭМ-4М с параллельным резистором сопротивлением 750 Ом, прием станет громкоговорящим, но этот капсюль следует максимально удалить от магнитной антенны. Размещение деталей приемника и печатная плата показаны на рис. 25.



Рис. 25. Размещение деталей приемника

Глава 4 ПЕРЕГОВОРНЫЕ УСТРОЙСТВА

4.1. Простое переговорное устройство

Иванов Б. [18]


Это переговорное устройство предназначено для связи между двумя абонентами по двухпроводной линии длиной более 100 м. У каждого абонента устанавливается аппарат, принципиальная схема которого приведена на рис. 26.



Рис. 26. Схема простого переговорного устройства


Аппарат содержит источник питания — батарею GB1 типа 3336Л напряжением 4,5. В, двухкаскадный усилитель на транзисторах VT1, VT2, кнопку вызова и переключатель «Прием-передача». Оба аппарата одинаковы, но соединение их перекрестное: гнездо X1 одного аппарата соединяется с гнездом Х2 второго и наоборот. В режиме приема питание на усилитель не поступает, и к линии присоединены только диод VD1 и телефон BF1. Питание усилителя осуществляется только в режиме передачи.

Допустим, абонент 1 включил на своем аппарате режим передачи. Подается питание на усилитель. При нажатии кнопки SB1 выход его усилителя (коллектор VT2) соединяется через конденсатор C3 с входом (база VT1), возникает положительная обратная связь, что приводит к генерации сигнала звуковой частоты, который с коллектора VT2 через гнездо Х2 поступает по линии на гнездо X1 второго аппарата. Одновременно минус батареи первого аппарата через гнездо X1 по линии поступает на гнездо Х2 второго аппарата. Поэтому во втором аппарате отпирается диод VD1 и сигнал вызова воспроизводится телефоном BF1. После отпускания кнопки вызова абонент 1 может начинать разговор через микрофон ВМ1, сигнал усиливается и воспроизводится телефоном BF1 второго аппарата так же, как и сигнал вызова. Разговор со второго; аппарата производится аналогично.

Микрофоны аппаратов ВМ1 и телефоны BF1 одинаковые — капсюли типа ТОН. Вместо транзисторов МП39Б можно использовать современные КТ361А.

4.2. Переговорное устройство «Кто там?»

Прокопцев Ю. [19]


Иногда возникает такая обстановка, когда на звонок в дверь квартиры хозяин не имеет возможности немедленно ее открыть или даже подойти к ней, чтобы спросить, кто пришел. В таких условиях может помочь специализированное переговорное устройство, не имеющее переключателя с приема на передачу, принципиальная схема которого показана на рис. 27.



Рис. 27. Схема переговорного устройства «Кто там?»


В исходном состоянии выключатель SA1 разомкнут и устройство обесточено. Когда раздается дверной звонок, хозяин включает питание устройства и через микрофон ВМ1 может задавать вопросы посетителю. Сигнал с микрофона поступает на эмиттерный повторитель, собранный на транзисторе VT1, и с его нагрузки R4 через конденсатор С3 подается на транзистор VT3, в коллекторную цепь которого включен высокоомный капсюль BF1, выполняющий сейчас функцию нагрузки транзистора, с которой сигнал через конденсатор С4 подается на фазоинвертор VT4 и оконечный усилитель на транзисторах VT5, VT6, откуда через конденсатор С5 поступает на контакт соединителя X1.3. Соединитель X1 трехпроводной линией соединен с микрофонным капсюлем ВМ2 и динамической головкой ВА1, установленными на внутренней стороне входной двери с отверстиями. Поэтому посетитель хорошо слышит вопрос. Его ответ воспринимается микрофоном ВМ2 и по линии с контактом X1.1 через конденсатор С2 подается на базу транзистора VT2, нагруженного на общую с транзистором VT1 нагрузку — R4. Далее он усиливается транзистором VT3 и воспроизводится капсюлем BF1. По окончании диалога устройство выключается тумблером SA1.

Капсюли ВМ1, ВМ2 и BF1 типа ТОН-1, динамическая головка ВА1 — 0.25ГДШ-2, 0,1ГД-13 или другая с сопротивлением звуковой катушки не менее 50 Ом. Вместо транзисторов МП41А можно использовать современные КТ361А.

4.3. Переговорное устройство с управлением по питанию

Мозговой Д. [20]


Это переговорное устройство предназначено для использования в тех случаях, когда нет возможности или нежелательно подводить напряжение питания к одному из ведущих переговоры, например находящемуся у входных ворот. Устройство обеспечивает громкоговорящую связь между абонентами по неэкранированной двухпроводной линии, длина которой может достигать 100 м. Принципиальная схема аппарата одного абонента приведена на рис. 28. Схемы обоих аппаратов одинаковы.



Рис. 28. Принципиальная схема одного аппарата


На транзисторах VT1, VT2, VT3 собран микрофонный усилитель с непосредственной связью между каскадами. Через резистор R4 осуществляется отрицательная обратная связь, стабилизирующая режимы транзисторов но постоянному току. На транзисторах VT4, VT5, VT6 собран мощный усилитель звукового сигнала. Динамическая головка в режиме передачи используется в качестве микрофона, а в режиме приема — громкоговорителя. Режим каждого аппарата зависит от полярности напряжения, приложенного к выводам 1 и 2, подключенным к линии, соединяющей аппараты. Блок питания напряжением 12 В (батарея или выпрямитель) и переключатель полярности, от которой зависят режимы аппаратов, располагаются у первого абонента. Их соединение с обоими аппаратами показано на рис. 29.



Рис. 29. Соединение аппаратуры переговорного устройства


Как видно, клеммами питания аппараты соединяются противоположно: когда на клемму 1 аппарата первого абонента подается плюс питания, на эту же клемму второго аппарата поступает минус, и наоборот.

В положении переключателя питания SA1, показанном на схеме, на клемму 1 первого аппарата поступает плюс, а минус с клеммы 2 в этом аппарате заземляется. При этом диод VD1 открыт, напряжение питания подается на микрофонный усилитель, и сигнал с микрофона после усиления с коллектора VT3 через конденсатор С4, открытый диод VD1 и клемму 1 проходит в верхний по схеме провод линии относительно нижнего провода. На клемму 1 второго аппарата поступает минус, а плюс с клеммы 2 в этом аппарате заземляется. Отрицательное напряжение питания отпирает диод VD2 и через резистор R7 осуществляет питание усилителя мощности аппарата 2. Вместе с тем, напряжение сигнала приложено между проводами линии, и если для аппарата 2 заземленным является верхний провод, то несущим сигнал оказывается нижний, подключенный также к клемме 1 второго аппарата. Через открытый диод VD2 и конденсатор С7 сигнал поступает на вход усилителя мощности и воспроизводится динамической головкой ВА1.

Если первый абонент переключит SA1 в нижнее по схеме положение, соответствующее для первого аппарата режиму приема, в первом аппарате питание поступит на усилитель мощности, а во втором — на микрофонный усилитель. Работа узлов окажется противоположной.

В устройстве используются динамические головки типа 0.25ГДШ-7 с сопротивлением звуковой катушки 50 Ом.

4.4. Переговорное устройство из головных телефонов

Иванов Б. [21]


К особенностям этого переговорного устройства относятся совершенно одинаковые абонентские аппараты и отсутствие каких-либо дополнительных устройств, отличающих аппарат «Master» от аппарата «Slave». Каждый абонентский аппарат оснащен собственным источником питания. Наконец, используется один и тот же телефонный капсюль — и в качестве микрофона, и в качестве телефона. Принципиальная схема переговорного устройства представлена на рис. 30.



Рис. 30. Схема переговорного устройства из головных телефонов


Каждый аппарат содержит кнопку вызова, нажатие которой в режиме передачи приводит к самовозбуждению усилителя из-за появления положительной обратной связи с коллектора транзистора VT2 через конденсатор С2 на базу транзистора VT1. Благодаря этому сигнал вызова звуковой частоты с аппарата А посылается в линию. В аппарате Б, находящемся в режиме приема, сигнал с линии поступает непосредственно на капсюль BF1 и воспроизводится им. Усилитель в режиме приема отключен от питания.

Голосовое сообщение абонента А, воспринятое капсюлем BF1, и поступает на базу транзистора VT1. В режиме передачи к усилителю подводится питание, и сигнал усиливается транзисторами VT1 и VT2, включенными по схеме с общим эмиттером. С выхода усилителя через конденсатор С2 и переключатель SA1 усиленный сигнал сообщения поступает в линию, на вход аппарата Б и воспроизводится его капсюлем BF1. Аналогично протекает процесс вызова абонента А с аппарата Б и передача сообщения в этом направлении. Кроме двух аппаратов по такой же схеме можно соединить несколько, что приводит к режиму конференции.

В устройстве используются высокоомные капсюли ТОН-1 или ТОН-2, батареи «Крона» или две соединенные последовательно 3336Л. Вместо транзисторов МП39Б можно использовать КТ361Б или КТ315Б, но в этом случае нужно переполюсовать батареи.

Глава 5 ПРИМЕНЕНИЕ ЛАМП ДНЕВНОГО СВЕТА

5.1. Вариант включения ЛДС

Буданцев А. [22]


Время от времени у ламп дневного света перегорают нити накала, и в предназначенных для них светильниках они использоваться не могут. Также перестают работать светильники при неисправностях дросселя или стартера. В подобных случаях можно зажечь ЛДС, включив ее по схеме, показанной на рис. 31.



Рис. 31. Схема включения ЛДС без дросселя и стартера


В схеме используется повышающий трансформатор Т1, обеспечивающий поджиг лампы повышенным напряжением, и конденсатор С1, ограничивающий ток, потребляемый лампой от сети.

Конденсатор должен быть рассчитан на рабочее напряжение не менее 350 В и иметь емкость 12–25 мкФ в случае использования лампы мощностью 40 Вт. Трансформатор собирается на сердечнике из пластин трансформаторной стали сечением 2 см2. Его первичная обмотка содержит 500 витков провода ПЭВ-2 диаметром 0,8 мм, а вторичная — 2800 витков такого же провода диаметром 0,25 мм. Можно также использовать готовый трансформатор кадровой развертки ТВК-110ЛМ от черно-белых телевизоров. При этом в качестве первичной обмотки I используется обмотка с выводами 3–4 (ее сопротивление постоянному току около 1 Ом), а в качестве вторичной II — обмотка с выводами 1–2 (ее сопротивление постоянному току около 280 Ом). Обмотка с выводами 5–6 не используется.

5.2. Лампа больше не мигает

Продеус А. [23]


Свечение ламп дневного света, длительное время бывших в употреблении, часто оказывается мигающим. Иногда у этих ламп перегорает одна из нитей накала. Предлагается несложная схема (рис. 32), позволяющая вновь нормально эксплуатировать такие лампы. Главное ее отличие от известных состоит в использовании штатного дросселя. Стартер также не нужен.



Рис. 32. Схема включения ЛДС без стартера


Особенность этой схемы состоит в том, что при включении, пока лампа не зажглась, первыми полупериодами сетевого напряжения заряжаются конденсаторы до амплитудного значения напряжения сети каждый. В результате к лампе прикладывается постоянное напряжение, равное двойному амплитудному напряжению сети, — около 620 В. Лампа зажигается и в дальнейшем питается выпрямленным напряжением. Дроссельограничивает ток лампы, как в штатном режиме.

5.3. Включение ламп освещения

Кривошеин В. [24]


Эта схема (рис. 33), как и предыдущая, не содержит стартера и пригодна для работы с лампами дневного света, у которых перегорели нити накала. Но в ней на два диода меньше.



Рис. 33. Принципиальная схема питания ЛДС с удвоением напряжения


При подаче питания, пока лампа не горит в течение одной половины периода сетевого напряжения, через диод VD2 заряжается до амплитудного значения конденсатор С2, в течение следующей половины периода сетевого напряжения через диод VD1 заряжается до амплитудного значения конденсатор С1. В результате к лампе прикладывается постоянное напряжение, равное удвоенному амплитудному значению напряжения сети. Лампа зажигается, и штатный дроссель ограничивает ток.

Глава 6 ИСПОЛЬЗОВАНИЕ УЛЬТРАЗВУКА

6.1. Так боятся ли комары ультразвука?

Виноградов Ю. [25]


Предлагаемое устройство излучает мощный сигнал, форма которого приближается к прямоугольной, а частота может быть установлена в пределах от 16 до 60 кГц. Принципиальная схема прибора приведена на рис. 34.



Рис. 34. Принципиальная схема излучателя ультразвука


На элементах DD1.1 и DD1.2 микросхемы К561ЛН2 собран генератор, частота повторения импульсов которого может регулироваться переменным резистором R3. Остальные четыре элемента DD1.3-DD1.6 используются для возбуждения транзисторов VT1-VT4, которые образуют мостовую схему выходного усилителя с включением нагрузки в диагональ моста. В связи с тем, что схема работает в импульсном режиме, четыре выходных транзистора представляют собой ключи, которыми нагрузка — звукоизлучатель ВА1 — подключается к источнику питания поочередно: либо открывающимися транзисторами VT1 и VT4, либо VT2 и VT3. Таким образом, ток в нагрузке попеременно изменяет направление.

Работа мощных транзисторов в ключевом режиме позволяет устанавливать их без радиаторов. В качестве звукоизлучателя может использоваться динамическая головка 6ГДВ-4-8 (прежнее название — 6ГД-13), 6ГДВ-6-16 (прежнее название — 10ГД-35) или 6ГДВ-7-16. Хотя техническими характеристиками этих головок регламентируется высшая частота рабочего диапазона, равная 25 кГц, они могут излучать значительно более высокие частоты, пусть не с той же отдачей, что в заданном рабочем диапазоне.

Устройство можно питать от любого источника постоянного тока напряжением 6 В. Потребляемый от источника ток при использовании звукоизлучающей головки 6ГДВ-4-8 составляет 0,5 А, а при использовании головок 6ГДВ-6-16 или 6ГДВ-7-16 — 0,25 А.

6.2. Ультразвуковой генератор для отпугивания крыс

Бородай В. [26]


Этот ультразвуковой генератор предназначен для отпугивания крыс и мышей в помещениях, где хранятся пищевые продукты. Колебания воздуха, созданные этим генератором, могут вредно влиять на здоровье человека и домашних животных. Поэтому находиться в помещении при работающем генераторе опасно и включать его необходимо сразу перед уходом из помещения. Следует также не допускать проникания в это помещение домашних животных.

Принципиальная схема генератора приведена на рис. 35.



Рис. 35. Принципиальная схема генератора для отпугивания крыс


Устройство содержит два генератора на микросхеме К176ЛЕ5 или ЛА7, усилитель мощности на трех транзисторах VT1-VT3 и звуковой излучатель ВА1.

На элементах DD1.3 и DD1.4 собран импульсный генератор, частота которого может изменяться с помощью переменного резистора R4 в пределах от 15 до 40 кГц. На элементах DD1.1 и DD1.2 также собран импульсный генератор, но значительно меньшей частоты — от 2 до 10 Гц. Регулировка этой частоты может производиться с помощью переменного резистора R2. Через конденсатор С2 низкочастотные колебания вводятся в схему высокочастотного, приводя к частотной модуляции генерируемого им сигнала. Через резистор R5 частотномодулированные колебания ультразвуковой частоты поступают на усилитель мощности, собранный на составном транзисторе из трех транзисторов.

Усилитель нагружен на динамическую головку 4ГДВ-1-8 (прежнее название — 3ГД-47). Хотя согласно техническим условиям рабочий диапазон частот этой головки не превышает 20 кГц, она способна излучать более высокие частоты, пусть с меньшей отдачей.

В режиме отпугивания грызунов контакты датчика SF1 разомкнуты. Если установить такие датчики на двери и окнах, чтобы при их открывании контакты замыкались, устройство выполнит функции тревожной сирены в связи с тем, что параллельно конденсатору С4 емкостью 200 пФ подключится конденсатор С3 емкостью 3300 пФ. В результате частота этого генератора уменьшится, попав в область звуковых частот.

Размещение элементов схемы на печатной плате показано на рис. 36.



Рис. 36. Чертеж печатной платы генератора для отпугивания крыс

6.3. Отпугиватель грызунов

Шитов А. [27]


В этом устройстве для отпугивания грызунов частота ультразвуковых колебаний изменяется по псевдослучайному закону. Это препятствует привыканию грызунов к однотонному или упорядоченно модулированному сигналу. Принципиальная схема отпугивателя показана на рис. 37.



Рис. 37. Принципиальная схема отпугивателя грызунов


На элементах DD1.1, DD2.1 собран генератор импульсов с частотой повторения около 30 Гц. Элемент DD2.2 является буферным и выполняет необходимое инвертирование импульсов. Далее следует регистр сдвига, собранный на триггере DD3.1 и трех регистрах DD4.1-DD4.3. Входная последовательность импульсов на вход регистра сдвига (вход D-триггера DD3.1) формируется элементами DD1.3, DD1.4, DD2.4. Эта система представляет собой генератор псевдослучайной последовательности, который содержит 215 — 1 = 32 767 состояний, откуда полный цикл длится 18,2 минут.

Сигнал псевдослучайной последовательности интегрируется ячейкой R8, С3 и через резистор R7 управляет сопротивлением промежутка коллектор-эмиттер транзистора VT1, которое совместно с резисторами R3 и R6 представляет собой делитель напряжения, определяющий в каждый данный момент частоту ультразвукового генератора, собранного на элементах DD1.2 и DD2.3. D-триггер DD3.2 формирует из поступающего сигнала меандр, управляющий проводимостью ключей из транзисторов VT2-VT5. Нагрузкой является высокочастотная динамическая головка ВА1.

Тип динамической головки автор статьи не указал, сославшись на другую публикацию, где использована головка 3ГДВ-1-8 с сопротивлением звуковой катушки 8 Ом. Поэтому указанное в статье потребление тока устройством, равное 100 мА, при нагрузке сопротивлением динамической головки в 4 Ом, следует уменьшить примерно вдвое.

Чертеж печатной платы и расположение на ней элементов схемы показаны на рис. 38. Штриховой линией на нем показаны проволочные перемычки.




Рис. 38. Печатная плата огпугивателя грызунов

Глава 7 ЭЛЕКТРОНИКА В МЕДИЦИНЕ

7.1. Устройство для поиска биологически активных точек и воздействия на них

Шустов М. [28]


Биологически активные точки (БАТ) на поверхности кожи человека характеризуются тем, что сопротивление в этих точках резко понижено, а емкость увеличена. Предложенная схема, приведенная на рис. 39, позволяет легко находить эти точки и воздействовать на них.



Рис. 39. Схема для поиска и воздействия на БАТ


Устройство содержит мультивибратор, собранный на лавинных транзисторах микросхемы К101КТ1А. Частота вырабатываемых им колебаний определяется сопротивлением резистора R1 и емкостью конденсатора С3. При разомкнутой цепи электродов поиска частота колебаний выше порога слышимости. В процессе поиска биологически активной точки один электрод держится пациентом в руке, а второй равномерно перемещается по коже. Попадание электрода на биологически активные точки сопровождается резким уменьшением частоты колебаний, которые воспроизводятся динамической головкой ВА1. Частоту колебаний можно регулировать переменным резистором R1. Трансформатор Тр1, а также и динамическая головка могут быть взяты от громкоговорителя для радиотрансляционной сети.

Вместо транзистора П308 можно использовать КТ503В.

7.2. Бытовой электрофорез

Члиянц Г. [29]


Электрофорезом в медицине называется метод физиотерапии, состоящий в одновременном воздействии на организм постоянного электрического тока и вводимых им через кожу или слизистые оболочки лекарственных препаратов. Принципиальная схема самодельного аппарата для электрофореза приведена на рис. 40.



Рис. 40. Принципиальная схема аппарата для электрофореза


Устройство питается от батареи GB1 типа «Крона» напряжением 9 В. Поэтому оно совершенно безопасно для пациента, не создает при работе неприятных ощущений или ожогов.

Имеется возможность использования двух режимов. При разомкнутых контактах переключателя SA1 ток полного отклонения стрелки миллиамперметра РД1 составляет 5 мА, и переменным резистором R2 устанавливается ток пациента, который не должен превышать этого значения. При замкнутых контактах переключателя резистор R1 замыкается, а параллельно стрелочному прибору включается- шунт , благодаря которому полное отклонение стрелки прибора соответствует току, равному 50 мА. Ток пациента может быть увеличен. При использовании миллиамперметра типа М42300 сопротивление шунта должно быть равно 2,8 Ом. При использовании другого стрелочного прибора сопротивление шунта должно быть подобрано так, чтобы ток полного отклонения был равен 50 мА.

7.3. Прибор для локальной магнитотерапии

Machalik [30]


Магнитотерапия используется для подавления болевых синдромов при ревматизме, мигрени, болей в суставах и в других случаях. Принципиальная схема прибора показана на рис. 41.



Рис. 41. Принципиальная схема прибора для магнитотерапии


На транзисторах собран импульсный генератор. Рассмотрим его работу с момента, когда конденсатор начал заряжаться коллекторным током открывшегося транзистора VT1.

В это время транзистор VT2 заперт, поэтому VT3 открыт, через него протекает ток базы транзистора VT1, поддерживающий его открытым. По мере заряда конденсатора С1 напряжение на нем растет и в какой-то момент достигает порога отпирания транзистора VT2, что запирает транзисторы VT3 и VT1. Конденсатор С1 начинает разряжаться базовым током VT2. Когда потенциал базы станет меньше порога отпирания, транзистор VT2 запрется, что приведет к отпиранию транзисторов VT3 и VT1. Цикл закончился. Таким образом, время открытого состояния VT1 (длительность импульса) определяется постоянной времени заряда С1, которая равна C1xR2, время запертого состояния VT1 (длительность паузы) — постоянной времени разряда С1, равной C1xR3.

Зарядный ток конденсатора С1 представляет собой лишь малую часть импульсного тока коллектора VT1. Основной его ток проходит в обмотку электромагнита L1, так как его сопротивление значительно меньше R2. Наконец, малая часть импульсного тока направляется в цепь светодиода HL1 для индикации. От импульсов самоиндукции, возникающих на обмотке электромагнита в момент запирания транзистора VT1, его защищает диод VD1.

Питать прибор в целях электробезопасности целесообразно от автономного источника, например батареи «Крона». Обмотка электромагнита наматывается проводом ПЭВ-2 диаметром 0,25 мм внавал на изоляционном каркасе с внутренним диаметром 10 мм до заполнения каркаса, наружный диаметр которого составляет 20 мм, а расстояние между щечками — 20 мм. Внутрь каркаса плотно вставляется стержень из мягкой стали длиной 20–30 мм.

Приложение СИСТЕМА УСЛОВНЫХ ОБОЗНАЧЕНИЙ ИНТЕГРАЛЬНЫХ СХЕМ

Условное обозначение интегральных микросхем (ИМС) для ориентации потребителей должно содержать информацию об их особенностях и назначении. Для этого согласно ГОСТ 17021-88 установлена определенная система. Главная часть условного обозначения состоит из трех- или четырехзначного числа, обозначающего номер серии, двух букв русского алфавита, которыми закодировано функциональное назначение микросхемы, и цифр порядкового номера разработки.

Первая цифра номера серии характеризует конструктивно-технологические свойства микросхемы: цифры 1, 5, 6 и 7 относятся к полупроводниковым микросхемам; 2, 4, 8 — к гибридным; 3 — к прочим, в том числе к пленочным. Гибридные микросхемы в настоящее время уже не выпускаются.

ИМС одной и той же серии обладают такими характеристиками, которые позволяют соединять между собой микросхемы этой серии разного функционального назначения без дополнительного согласования между ними и без дополнительных элементов схемы. Для этого микросхемы внутри серии рассчитаны на одинаковые напряжения питания и согласуются по уровням входных и выходных сигналов. Благодаря этому за счет широкой номенклатуры микросхем самого разного назначения внутри серии имеется возможность создания целого электронного устройства, собранного на микросхемах этой серии. Это значительно сокращает время разработки, габариты и массу устройства, а также потребляемую энергию. Хотя по питанию и входным-выходным сигналам микросхемы внутри серии полностью совместимы, обойтись без некоторых навесных элементов при создании аналоговых устройств пока не удается. Все еще приходится использовать катушки индуктивности, кварцевые резонаторы, крупногабаритные конденсаторы, переменные резисторы, электромагнитные реле и другие дискретные элементы. Многие разные серии микросхем также характеризуются одинаковыми значениями напряжения питания, что позволяет при сборке устройства использовать источник питания, вырабатывающий одно стабилизированное напряжение, что упрощает его конструкцию и сокращает номенклатуру источников питания.

Условные буквенные обозначения функционального назначения микросхем приведены в табл. 1.


Таблица 1. Условные буквенные обозначения функционального назначения ИМС

Обозначение Функциональное назначение

Формирователи

• АА Формирователи адресных напряжений и токов

АГ Формирователи импульсов прямоугольной формы

АП Формирователи прочие

АР Формирователи разрядных напряжений и токов

АФ Формирователи импульсов специальной формы


Схемы задержки

БМ Пассивные схемы задержки

БП Прочие схемы задержки

БР Активные схемы задержки


Схемы вычислительных устройств

ВА Схемы сопряжения с магистралью

ВБ Схемы синхронизации

ВВ Устройства управления вводом-выводом (схемы интерфейса)

ВГ Контроллеры

BE МикроЭВМ

ВЖ Специализированные устройства

ВИ Времязадающие устройства

ВК Комбинированные устройства

ВМ Микропроцессоры

ВН Схемы управления прерыванием

ВП Прочие устройства

ВР Функциональные расширители

ВС Микропроцессорные секции

ВТ Устройства управления памятью

ВУ Устройства программного управления

ВФ Функциональные преобразователи информации

ВХ Микрокалькуляторы


Генераторы

ГГ Генераторы прямоугольных сигналов

ГЛ Генераторы линейно-изменяющихся сигналов

ГМ Генераторы шума

ГП Прочие генераторы

ГС Генераторы гармонических сигналов

ГФ Генераторы сигналов специальной формы


Детекторы

ДА Детекторы амплитудные

ДИ Детекторы импульсные

ДП Детекторы прочие

ДС Детекторы частотные

ДФ Детекторы фазовые


Источники вторичного электропитания

ЕВ Выпрямители вторичных источников питания

ЕК Стабилизаторы напряжения импульсные

ЕМ Преобразователи вторичных источников питания

ЕН Стабилизаторы напряжения непрерывные

ЕП Прочие вторичные источники питания

ЕС Источники вторичного электропитания

ЕТ Стабилизаторы тока вторичных источников питания

ЕУ Схемы управления импульсными стабилизаторами напряжения


Схемы цифровых устройств

ИА Арифметико-логические устройства

ИВ Шифраторы арифметических и дискретных устройств

ИД Дешифраторы арифметических и дискретных устройств

ИЕ Счетчики арифметических и дискретных устройств


Комбинированные элементы арифметических и дискретных устройств

ИЛ Полусумматоры арифметических и дискретных устройств

ИМ Сумматоры арифметических и дискретных устройств

ИП Прочие элементы арифметических и дискретных устройств

ИР Регистры арифметических и дискретных устройств


Коммутаторы и ключи

КТ Коммутаторы и ключи тока

КН Коммутаторы и ключи напряжения

КП Коммутаторы и ключи прочие


Логические элементы

ЛА Логические элементы И-НЕ

ЛБ Логические элементы И-НЕ, ИЛИ-НЕ

ЛД Расширители

ЛЕ Логические элементы ИЛИ-НЕ

ЛИ Логические элементы И

ЛК Логические элементы И-ИЛИ-НЕ/И-ИЛИ

ЛЛ Логические элементы ИЛИ

ЛМ Логические элементы ИЛИ-НЕ/ИЛИ

ЛН Логические элементы НЕ

ЛП Логические элементы прочие

ЛР Логические элементы И-ИЛИ-НЕ

ЛС Логические элементы И-ИЛИ


Модуляторы

МА Модуляторы амплитудные

МИ Модуляторы импульсные

МП Модуляторы прочие

МС Модуляторы частотные

МФ Модуляторы фазовые


Наборы элементов

НД Микросборки из набора диодов

НЕ Микросборки из набора конденсаторов

НК Микросборки комбинированные

НП Микросборки прочие

HP Микросборки из набора резисторов

НТ Микросборки из набора транзисторов

НФ Микросборки функциональные


Преобразователи

ПА Преобразователи цифро-аналоговые (код-аналог)

ПВ Преобразователи аналогово-цифровые (аналог-код)

ПД Преобразователи длительности

ПЕ Умножители частоты аналоговые

ПЛ Синтезаторы частоты

ПМ Преобразователи мощности

ПН Преобразователи напряжения, тока

ПП Преобразователи прочие

ПР Преобразователи код-код

ПС Преобразователи частоты (в том числе перемножители аналоговые)

ПУ Преобразователи уровня (согласователи)

ПФ Преобразователи фазы

ПЦ Делители частоты цифровые


Запоминающие устройства

РА Ассоциативные схемы запоминающих устройств

РВ Матрицы постоянных запоминающих устройств (ПЗУ)

РЕ Масочные ПЗУ со схемами управления

РМ Матрицы оперативных запоминающих устройств (ОЗУ)

РП Прочие матрицы-накопители

РР ПЗУ с возможностью многократного программирования

РТ ПЗУ с возможностью однократного программирования

РУ ОЗУ со схемами управления

РФ ПЗУ с ультрафиолетовым стиранием информации

РЦ Запоминающие устройства на цилиндрических магнитных доменах


Схемы сравнения и селекции

СА Схемы сравнения и селекции по напряжению(компараторы)

СВ Временные схемы сравнения и селекции

СК Амплитудные схемы сравнения и селекции

СП Прочие схемы сравнения и селекции

СС Частотные схемы сравнения и селекции

СФ Фазовые схемы сравнения и селекции


Триггеры

ТВ Триггеры JK-типа (универсальные)

ТД Триггеры динамические

ТК Триггеры комбинированные

ТЛ Триггеры Шмитта

ТМ Триггеры D-типа

ТП Триггеры прочие

ТР Триггеры RS-типа (с раздельным запуском)

ТТ Триггеры Т-типа (счетные)


Усилители

УВ Усилители напряжения или мощности высокой частоты

УД Усилители операционные

УЕ Повторители сигнала

УИ Усилители импульсных сигналов

УК Усилители широкополосные

УЛ Усилители считывания и воспроизведения

УМ Усилители схем индикации

УН Усилители напряжения и мощности низкой частоты

УП Усилители прочие

УР Усилители сигналов промежуточной частоты

УС Усилители дифференциальные

УТ Усилители постоянного тока


Фильтры

ФВ Фильтры верхних частот

ФЕ Полосовые фильтры

ФН Фильтры нижних частот

ФП Фильтры прочие

ФР Фильтры режекторные


Многофункциональные устройства

ХА Аналоговые схемы

ХИ Аналоговые матрицы

ХК Многофункциональные комбинированные схемы

ХЛ Цифровые схемы

ХМ Цифровые матрицы

ХП Прочие многофункциональные схемы

ХТ Комбинированные матрицы


Фоточувствительные устройства с зарядовой связью

ЦЛ Линейные

ЦМ Матричные

ЦП Прочие


Могут выпускаться разные микросхемы одной и той же серии и одинакового функционального назначения, но выполненные по разным внутренним схемам и обладающие разными входными и выходными характеристиками. Такие микросхемы различаются номером разработки.

Для того чтобы различать микросхемы одинаковых номеров разработки по вспомогательным параметрам, после обозначения номера разработки используются буквы в алфавитном порядке дли разбраковки микросхем по электрическим параметрам подобно тому; как вводится буква в условное обозначение транзисторов одинакового типа. Это аналогично тому, как транзисторам КТ315, отличающимся некоторыми параметрами (статическим коэффициентом передачи тока, допустимым напряжением питания и др.), присваиваются буквы А, Б, В и т. д.

К дополнительным элементам условного обозначения микросхем относятся буквы, проставленные перед основной его частью (номером серии). Первая буква К указывает на то, что данная микросхема предназначена для установки в устройства широкого применения. Микросхемы, предназначенные для экспорта, перед буквой К обозначены буквой Э. Они отличаются шагом между выводами, равным 1,27 или 2,54 мм в соответствии с дюймовой системой мер. Следующая буква показывает тип корпуса микросхемы, ее расшифровка приведена в табл. 2.


Таблица 2. Условные обозначения корпусов микросхем

Обозначение Тип корпуса

А Пластмассовый, планарный (выводы расположены в одной плоскости)

Е Металлополимерный, с параллельным двухрядным расположением выводов

И Стеклокерамический, планарный

М Металлокерамический, керамический или стеклокерамический с параллельным двухрядным расположением выводов

Н Кристаллоноситель, не имеющий выводов

Р Пластмассовый, с параллельным двухрядным расположением выводов

С Стеклокерамический, с параллельным двухрядным расположением выводов

Ф Микроминиатюрный


Выпускаются также бескорпусные полупроводниковые микросхемы для использования в гибридных микросхемах или в микромодулях. В условном обозначении бескорпусных микросхем перед номером серии содержится буква Б, а в конце условного обозначения через дефис — цифра, указывающая модификацию выводов: 1 — гибкие выводы, 2 — ленточные выводы; 3 — жесткие выводы; 4 — неразделенные на общей пластине; 5 — разделенные; 6 — контактные площадки.

Так, например, согласно установленной системе, обозначение микросхемы типа КР140УД7 расшифровывается как интегральный полупроводниковый операционный усилитель, предназначенный для установки в аппаратуру широкого применения, в пластмассовом корпусе с двухрядным параллельным расположением выводов, седьмого номера разработки. Обозначение микросхемы КМ155ИЕ8 указывает, что имеется в виду полупроводниковый цифровой счетчик для аппаратуры широкого применения в металлокерамическом корпусе с двухрядным параллельным расположением выводов восьмого номера разработки.

Необходимо заметить, что обозначения ИМС, выпущенных до введения ГОСТ 18682-73, отличаются от приведенных, использовалось также большое число ныне устаревших корпусов. Огромное количество микросхем выпускается множеством разных фирм всего мира со своими системами обозначений, привести которые нет возможности.

Литература

1. Гончар А. Простейшие охранные устройства // Радиолюбитель. — 1996. - № 12. — С. 10.

2. Куренков Л. Входное устройство охранной сигнализации // Радиолюбитель. — 1994. - № 3. _ С. 38.

3. Воробьев А. Электрошоковое средство защиты // Радиолюбитель. — 1994. - № 3. — С. 46.

4. Александров И. Сторожевое устройство // Радио. — 1990. -№ 9. -С. 33.

5. Шустов М. Звукосигнальные охранные устройства // Радиолюбитель. — 1997. - № 1. — С. 28.

6. Никольский Л. Охранное устройство с индикацией состояния шлейфа // Радио. — 1996. - № 9. — С. 44–45.

7. Осоцкий Ю. Простые радиомикрофоны // Радио. — 1997.-М» 7. — С. 19.

8. Цуканов Е. Низковольтный радиомикрофон // Радиолюбитель. — 1998. - № 2. — С. 25.

9. Шустов М. УКВ радиомикрофоны // Радиолюбитель. — 1995. - № 8. — С. 14.

10. Кургузов А. Радиомикрофон // Радиолюбитель. — 1999.-№ 6.-С. 15.

11. Абрамов А. Радиомикрофон с кварцевой стабилизацией частоты передатчика // Радио. — 1995. - № 9. — С. 27; Радио. — 1996. - № 5. — С. 61.

12. Рузматов В. Радиомикрофон с рамочной антенной // Радио. — 1995. -№ 7. — С. 17.

13. Зирюкин Ю. Детекторный радиоприемник // Радио. — 1994. - № 2. — С. 36.

14. Юсупов И. Приемники из минимума деталей // Радиолюбитель. — 1998. - № 1. — С. 12–13.

15. Кокачев В. Миниатюрный приемник на двух транзисторах // Радио. — 1965. - № 1. — С. 33–34 и с. 1, 4 вкладки.

16. Алексеев Д. Простой УКВ ЧМ приемник // Радио. — 1990.-№ 11.-С. 48.

17. Прокопцев Ю. Простой и удобный // Радио. — 1994. - № 4.-С. 29.

18. Иванов Б. Простые переговорные устройства // Радио. -1997. -№.11. -С. 40.

19. Прокопцев Ю. Переговорное устройство <<Кто там?» // Радио. -1992. - № 9. — С. 52.

20. Мозговой Д. Переговорное устройство с управлением по питанию // Радиолюбитель. — 1997. - № 9. — С. 25.

21. Иванов Б. Переговорное устройство из головных телефонов // Радио. — 1984. - № 2. — С. 49 и с. 4 вкладки.

22. Буданцев А. Два варианта включения ЛДС // Радио. — 1998.-№ 10.-С. 78.

23. Продеус А. Лампа больше не мигает // Радиолюбитель. — 1992. - № 8. — С. 28.

24. Кривошеин В. Включение ламп освещения // Радиолюбитель. — 1994. - № 7. — С. 30.

25. Виноградов Ю. Так боятся ли комары ультразвука? // Радио. — 1994.-№ 7. — С. 25–26.

26. Бородай В. Ультразвуковой генератор для отпугивания крыс // Радиолюбитель. — 1996. - № 7. — С. 19.

27. Шитов А. Вариант отпугивателя грызунов // Радио. — 1997.-№ 7.-С. 38–39.

28. Шустов М. Устройство для поиска биологически активных точек и воздействия на них // Радиолюбитель. — 1991. - № 9. — С. 7.

29. Члиянц Г. Бытовой электрофорез // Радиолюбитель. — 1992.-№ 2.-С. 32.

30. Machalik. Прибор для локальной магнитотерапии // Радио. — 1995. - № 12. — С. 58.

* * *




Оглавление

  • Глава 1 ОХРАННЫЕ СИСТЕМЫ
  •   1.1. Простейшие охранные устройства
  •   1.2. Входное устройство охранной сигнализации
  •   1.3. Электрошоковое средство защиты
  •   1.4. Сторожевое устройство
  •   1.5. Сирена персональной охраны
  •   1.6. Охранное устройство с индикацией состояния шлейфа
  • Глава 2 РАДИОМИКРОФОНЫ
  •   2.1. Простой радиомикрофон
  •   2.2. Низковольтный радиомикрофон
  •   2.3. УКВ-радиомикрофон
  •   2.4. Радиомикрофон
  •   2.5. Радиомикрофон с кварцевой стабилизацией
  •   2.6. Радиомикрофон с рамочной антенной
  • Глава 3 МИНИАТЮРНЫЕ РАДИОПРИЕМНИКИ
  •   3.1. Детекторный радиоприемник
  •   3.2. Приемники из минимума деталей
  •   3.3. Миниатюрный приемник на двух транзисторах
  •   3.4. Простой УКВ ЧМ приемник
  •   3.5. Простой и удобный
  • Глава 4 ПЕРЕГОВОРНЫЕ УСТРОЙСТВА
  •   4.1. Простое переговорное устройство
  •   4.2. Переговорное устройство «Кто там?»
  •   4.3. Переговорное устройство с управлением по питанию
  •   4.4. Переговорное устройство из головных телефонов
  • Глава 5 ПРИМЕНЕНИЕ ЛАМП ДНЕВНОГО СВЕТА
  •   5.1. Вариант включения ЛДС
  •   5.2. Лампа больше не мигает
  •   5.3. Включение ламп освещения
  • Глава 6 ИСПОЛЬЗОВАНИЕ УЛЬТРАЗВУКА
  •   6.1. Так боятся ли комары ультразвука?
  •   6.2. Ультразвуковой генератор для отпугивания крыс
  •   6.3. Отпугиватель грызунов
  • Глава 7 ЭЛЕКТРОНИКА В МЕДИЦИНЕ
  •   7.1. Устройство для поиска биологически активных точек и воздействия на них
  •   7.2. Бытовой электрофорез
  •   7.3. Прибор для локальной магнитотерапии
  • Приложение СИСТЕМА УСЛОВНЫХ ОБОЗНАЧЕНИЙ ИНТЕГРАЛЬНЫХ СХЕМ
  • Литература